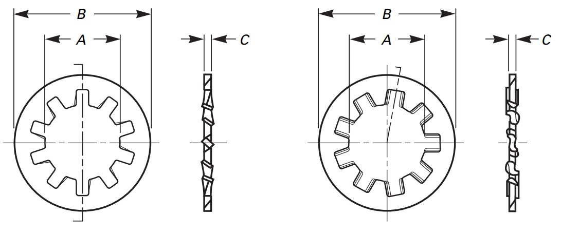
| Nominal Washer Size | Inside Diameter, A | Outside Diameter, B | Thickness, C | |||
|---|---|---|---|---|---|---|
| Max. | Min. | Max. | Min. | Max. | Min. | |
| ASME B18.21.1 1⁄4 (0.250) | 6.782 | 6.502 | 13.614 | 12.700 | 1.143 | 0.889 |
| ASME B18.21.1 5⁄16 (0.3125) | 8.433 | 8.128 | 15.418 | 14.986 | 1.270 | 1.016 |
| ASME B18.21.1 3⁄8 (0.375) | 10.109 | 9.754 | 18.999 | 17.780 | 1.270 | 1.067 |
| ASME B18.21.1 7⁄16 (0.4375) | 11.786 | 11.379 | 21.793 | 20.320 | 1.702 | 1.270 |
| ASME B18.21.1 1⁄2 (0.500) | 13.462 | 13.005 | 23.470 | 22.352 | 1.702 | 1.397 |
| ASME B18.21.1 9⁄16 (0.5625) | 15.138 | 14.630 | 26.264 | 25.146 | 1.702 | 1.397 |
| ASME B18.21.1 5⁄8 (0.625) | 16.840 | 16.256 | 28.829 | 27.940 | 1.702 | 1.499 |
| ASME B18.21.1 3⁄4 (0.750) | 20.193 | 19.507 | 32.131 | 31.496 | 2.134 | 1.778 |
| ASME B18.21.1 7⁄8 (0.875) | 23.546 | 22.708 | 36.754 | 35.560 | 2.134 | 1.905 |
| Nominal Washer Size | Inside Diameter, A | Outside Diameter, B | Thickness, C | |||
|---|---|---|---|---|---|---|
| Max. | Min. | Max. | Min. | Max. | Min. | |
| ASME B18.21.1 1⁄4 (0.250) | 6.782 | 6.502 | 13.614 | 12.700 | 1.143 | 0.889 |
| ASME B18.21.1 5⁄16 (0.3125) | 8.433 | 8.128 | 15.418 | 14.986 | 1.270 | 1.016 |
| ASME B18.21.1 3⁄8 (0.375) | 10.109 | 9.754 | 18.999 | 17.780 | 1.270 | 1.067 |
| ASME B18.21.1 7⁄16 (0.4375) | 11.786 | 11.379 | 21.793 | 20.320 | 1.702 | 1.270 |
| ASME B18.21.1 1⁄2 (0.500) | 13.462 | 13.005 | 23.470 | 22.352 | 1.702 | 1.397 |
| ASME B18.21.1 9⁄16 (0.5625) | 15.138 | 14.630 | 26.264 | 25.146 | 1.702 | 1.397 |
| ASME B18.21.1 5⁄8 (0.625) | 16.840 | 16.256 | 28.829 | 27.940 | 1.702 | 1.499 |
| ASME B18.21.1 1⁄4 (0.250) | 20.193 | 19.507 | 32.131 | 31.496 | 2.134 | 1.778 |
| ASME B18.21.1 7⁄8 (0.875) | 23.546 | 22.708 | 36.754 | 35.560 | 2.134 | 1.905 |