ASME B18.2.2 Heavy Hex Flat Nuts

ASME B18.2.2 Heavy Hex Flat Nuts Standard covers the dimensional requirements for nine product types of inch series bolts and screws recognized as American National Standard. Also included are appendices covering gaging procedures, grade markings for bolts and screws, formulas on which dimensional data are based, and a specification to assist in identifying a product as being a screw or a bolt. Where questions arise concerning acceptance of product, the dimensions in the tables shall govern over recalculation by formula. Heavy hex structural bolts, formerly covered in ASME B18.2.1, are now covered in ASME B18.2.6.
The inclusion of dimensional data in this Standard is not intended to imply that all of the products described herein are stock production sizes. Consumers should consult with suppliers concerning lists of stock production sizes.

ASME B18.2.2 Heavy Hex Flat Nuts

ASME B18.2.2 Heavy Hex Flat Nuts Dimensions (mm)

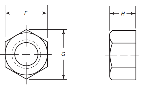
Nominal Size Basic Major Diameter of Thread Width Across Flats, F Width Across Corners, G Thickness, H Bearing Surface Runout to Thread Axis, FIM
Basic Min. Max. Min. Max. Basic Min. Max.
1 1/8 28.575 46.038 44.602 46.025 50.851 53.162 28.575 27.407 29.337 0.813
1 1/4 31.750 50.800 49.225 50.800 56.109 58.649 31.750 30.150 32.563 0.864
1 3/8 34.925 55.563 53.823 55.575 61.366 64.160 34.925 33.274 35.789 0.965
1 1/2 38.100 60.325 58.420 60.325 66.599 69.647 38.100 36.398 39.014 1.041
1 3/4 44.450 69.850 67.615 69.850 77.089 80.645 44.450 42.647 45.466 1.219
2 50.800 79.375 76.835 79.375 87.605 91.643 50.800 48.895 51.918 1.372
2 1/4 57.150 88.900 86.055 88.900 98.095 102.641 57.150 54.737 58.369 1.549
2 1/2 63.500 98.425 95.250 98.425 108.585 113.640 63.500 60.985 64.821 1.702
2 3/4 69.850 107.950 104.445 107.950 119.075 124.638 69.850 67.234 71.272 1.880
3 76.200 117.475 113.665 117.475 129.591 135.636 76.200 73.482 77.724 2.032
3 1/4 82.550 127.000 122.885 127.000 140.081 146.660 82.550 79.350 84.176 2.210
3 1/2 88.900 136.525 132.080 136.525 150.571 157.658 88.900 85.598 90.627 2.362
3 3/4 95.250 146.050 141.275 146.050 161.061 168.656 95.250 91.846 97.079 2.540
4 101.600 155.575 150.495 155.575 171.577 179.654 101.600 98.095 103.530 26.924
  • All dimensions are in millimeters.
  • Bold type indicates nuts unified dimensionally with British and Canadian Standards.
  • Threads are Unified Coarse-thread series (UNC), Class 2B.

ASME B18.2.2 Heavy Hex Flat Nuts Dimensions (Inch)

Nominal Size Basic Major Diameter of Thread Width Across Flats, F Width Across Corners, G Thickness, H Bearing Surface Runout to Thread Axis, FIM
Basic Min. Max. Min. Max. Basic Min. Max.
1 1/8 1.1250 1 13/16 1.756 1.812 2.002 2.093 1 1/8 1.079 1.155 0.032
1 1/4 1.2500 2 1.938 2.000 2.209 2.309 1 1/4 1.187 1.282 0.034
1 3/8 1.3750 2 3/16 2.119 2.188 2.416 2.526 1 3/8 1.310 1.409 0.038
1 1/2 1.5000 2 3/8 2.300 2.375 2.622 2.742 1 1/2 1.433 1.536 0.041
1 3/4 1.7500 2 3/4 2.662 2.750 3.035 3.175 1 3/4 1.679 1.790 0.048
2 2.0000 3 1/8 3.025 3.125 3.449 3.608 2 1.925 2.044 0.054
2 1/4 2.2500 3 1/2 3.388 3.500 3.862 4.041 2 1/4 2.155 2.298 0.061
2 1/2 2.5000 3 7/8 3.750 3.875 4.275 4.474 2 1/2 2.401 2.552 0.067
2 3/4 2.7500 4 1/4 4.112 4.250 4.688 4.907 2 3/4 2.647 2.806 0.074
3 3.0000 4 5/8 4.475 4.625 5.102 5.340 3 2.893 3.060 0.080
3 1/4 3.2500 5 4.838 5.000 5.515 5.774 3 1/4 3.124 3.314 0.087
3 1/2 3.5000 5 3/8 5.200 5.375 5.928 6.207 3 1/2 3.370 3.568 0.093
3 3/4 3.7500 5 3/4 5.562 5.750 6.341 6.640 3 3/4 3.616 3.822 0.100
4 4.0000 6 1/8 5.925 6.125 6.755 7.073 4 3.862 4.076 1.06
  • All dimensions are in inches.
  • Bold type indicates nuts unified dimensionally with British and Canadian Standards.
  • Threads are Unified Coarse-thread series (UNC), Class 2B.

ASME Material Specifications

ASTM A194/ASTM A194M Nuts
ASTM A1014/A1014M UNS N07718 Bolting, Stud Bolts, Screws, Nuts
ASTM A1082/A1082M Bolting, Stud Bolts, Screws, Nuts
ASTM A453/A453M Bolting, Stud Bolts, Screws, Nuts
ASTM F1554 Anchor Bolts, Anchor Rods
ASTM F3111 Heavy Hex Bolts, Nuts, Washers
ASTM F432 Roof Rock Bolts, Screws, Threaded
ASTM F901 Aluminium Transmission Tower Bolts
ASTM A563 Standard Specification for Carbon and Alloy Steel Nuts
ASTM F467/ASTM F467M Standard Specification for Nonferrous Nuts for General Use
ASTM F594 Standard Specification for Stainless Steel Nuts

ISO Material Specifications

ISO 898-2 Nuts
ISO 3506-2 Nuts

EN Material Specifications

EN 10269 Bolting Fasteners, Bolting, Stud Bolts, Screws, Nuts, Washers